一、59人被查,44人被处分
10月,中央纪委国家监委网站受权发布通报——
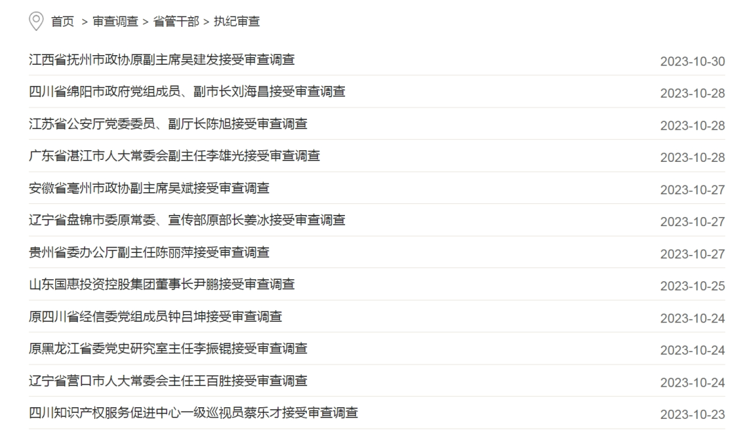
59人接受审查调查:
国家烟草专卖局原党组书记、局长凌成兴接受中央纪委国家监委纪律审查和监察调查;
广西壮族自治区人大常委会原党组副书记、副主任张秀隆接受中央纪委国家监委纪律审查和监察调查;
陕西省政协原党组书记、主席韩勇接受中央纪委国家监委纪律审查和监察调查。

另外还包括:江苏省公安厅党委委员、副厅长陈旭;四川省绵阳市政府党组成员、副市长刘海昌;广东省湛江市人大常委会党组成员、副主任李雄光;等等。

44人受到党纪政务处分:
山东省政协原党组成员、副主席孙述涛严重违纪违法被开除党籍和公职;
中国光大集团原党委书记、董事长李晓鹏严重违纪违法被开除党籍和公职;
国家体育总局原党组成员、副局长杜兆才严重违纪违法被开除党籍和公职;
江西省人大常委会原党组副书记、副主任殷美根严重违纪违法被开除党籍和公职;
中国银行原党委书记、董事长刘连舸严重违纪违法被开除党籍。

另外还包括:海南省工业和信息化厅原党组成员、副厅长吉兆民被开除党籍和公职;广东海洋大学原党委副书记、校长潘新祥被开除党籍和公职;山西省阳泉市委原常委、组织部部长金所军被开除党籍和公职;等等。

二、二十届中央第二轮巡视完成进驻
根据党中央关于巡视工作统一部署,截至10月20日,二十届中央第二轮巡视完成进驻工作。15个巡视组对26家中管企业和5家职能部门开展常规巡视,对国家铁路局党组、中国国家铁路集团有限公司党组开展巡视“回头看”。

据悉,15个中央巡视组将在被巡视单位工作2个月左右,期间设立专门值班电话和邮政信箱,主要受理反映被巡视党组织领导班子及其成员、下一级党组织主要负责人和重点岗位人员问题的来信来电来访,重点是关于违反政治纪律、组织纪律、廉洁纪律、群众纪律、工作纪律和生活纪律以及巡视整改等方面问题反映。巡视组受理信访时间截止到2023年12月20日。
三、中央纪委国家监委通报2023年1至9月全国纪检监察机关监督检查、审查调查情况

全国纪检监察机关处分人员按职级划分图
2023年1至9月,全国纪检监察机关共接收信访举报261.7万件次,其中检举控告类信访举报81.9万件次。处置问题线索128.3万件,其中谈话函询26.6万件。立案47万件,其中立案中管干部54人、厅局级干部2480人、县处级干部2万人、乡科级干部6.5万人;立案现任或原任村党支部书记、村委会主任4.6万人。处分40.5万人,其中党纪处分33.1万人、政务处分10.8万人;处分省部级干部34人,厅局级干部2244人,县处级干部1.6万人,乡科级干部5.4万人,一般干部5.6万人,农村、企业等其他人员27.7万人。

全国纪检监察机关运用“四种形态”占比图
2023年1至9月,全国纪检监察机关运用“四种形态”批评教育帮助和处理共119.7万人次。其中,运用第一种形态批评教育帮助78.5万人次,占总人次的65.5%;运用第二种形态处理32.1万人次,占26.9%;运用第三种形态处理4.4万人次,占3.7%;运用第四种形态处理4.6万人次,占3.9%。
坚持受贿行贿一起查,立案行贿人员1.2万人,移送检察机关2365人。
四、2023年9月全国查处违反中央八项规定精神问题10160起
10月30日,中央纪委国家监委公布了2023年9月全国查处违反中央八项规定精神问题汇总情况。今年9月,全国共查处违反中央八项规定精神问题10160起,批评教育帮助和处理14482人,其中,党纪政务处分10174人,这是连续第121个月公布月报数据。

从查处问题类型看,在履职尽责、服务经济社会发展和生态环境保护方面不担当、不作为、乱作为、假作为,严重影响高质量发展方面,9月,全国共查处问题3987起,占查处的形式主义、官僚主义问题总数的86.4%。查处的违规收送名贵特产和礼品礼金、违规吃喝、违规发放津补贴或福利3类问题,分别占享乐主义、奢靡之风问题的43.6%、22.4%、14.9%。
从查处级别看,9月,全国共查处地厅级领导干部问题56起,县处级领导干部问题797起,查处乡科级及以下干部问题9307起。其中,乡科级及以下干部问题占查处问题总数的91.6%。

