7月23日,齐齐哈尔市第34中学(下称:34中)体育馆屋顶发生坍塌事故。目前,现场搜救工作结束,此次事故共造成11人死亡。事故调查工作正在全面推进中。


7月23日,消防救援人员在现场搜救受困人员,体育馆屋顶全部坍塌。@新华社 图

触电新闻视频截图
事发后,有家长质疑救援流程,并称小孩被送往医院后,等待5小时期间无一人出面沟通伤情。
坍塌体育馆毗邻楼施工单位责任人被控制
经现场初步调查,与体育馆毗邻的教学综合楼施工过程中,施工单位违规将珍珠岩堆置体育馆屋顶。受降雨影响,珍珠岩浸水增重,导致屋顶荷载增大引发坍塌。
深入调查仍在进行中,目前,教学综合楼施工单位责任人已被公安机关控制。

据扬子晚报消息,南京建筑设计从业人员陈先生告诉记者,珍珠岩是目前行业内常用的建筑保温材料,常用于外墙保温中,“这个东西不仅仅是北方寒冷地区在使用,南方新建设的房子也会使用该材料。但它吸水性较强容易渗水和增重,平时用于外墙保温时外层还需做一层防水涂料。”
陈先生介绍,此次事故中的体育馆房顶本身就是一个很薄弱的部位,施工单位敢在雨天将大量珍珠岩直接放在体育馆房顶上不管,既展现出施工人员毫无安全知识和意识,也体现施工方完全违背了建筑施工安全规范。
涉事施工企业承揽过多项政府工程
34中教学综合楼的一处施工牌显示,该工程的建设单位为黑龙江嘉美建设有限公司(下称:嘉美公司)。

综合楼前施工公告。受访者供图
公开信息显示,嘉美公司成立于2009年7月6日,注册资本5000万元,法定代表人为程子锋。该公司的经营范围(许可项目)包括住宅室内装饰装修;建设工程施工;文物保护工程施工;建筑物拆除作业(爆破作业除外)。
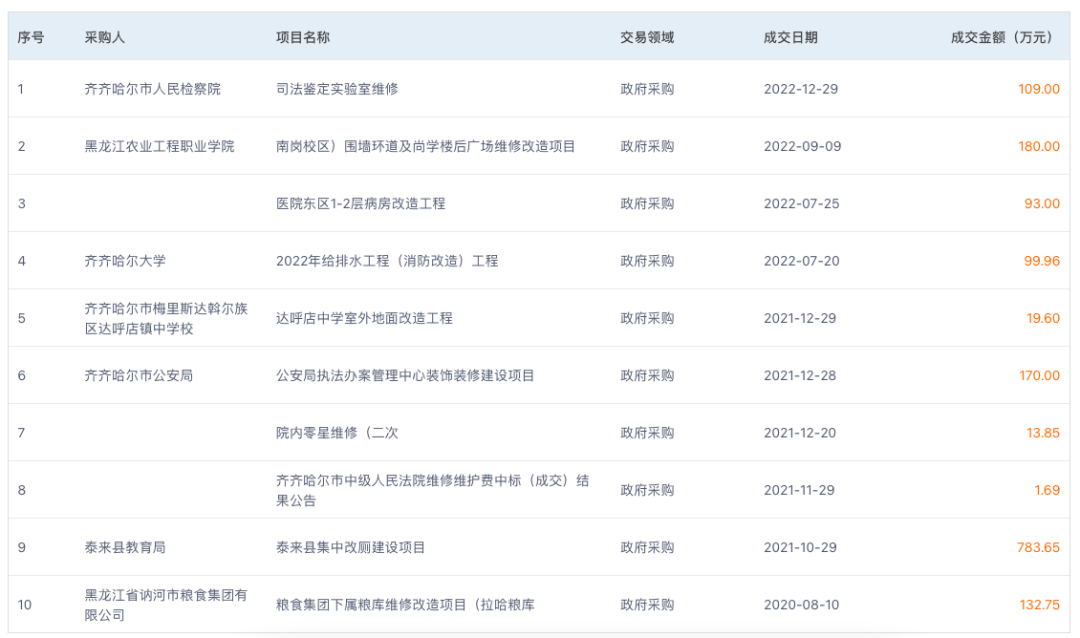
澎湃新闻注意到,在近3年时间里,嘉美公司中标了包括齐齐哈尔市公安局、齐齐哈尔市检察院、34中在内的17个建设项目。17个项目中,有10个为“政府采购”,7个为“工程建设”。“政府采购”的项目的采购方有齐齐哈尔市公安局、齐齐哈尔市检察院、齐齐哈尔市中级法院、齐齐哈尔大学、泰来县教育局等,中标价格从1.69万元至783.65万元不等;“工程建设”的招标机构包括发生坍塌事故的34中、齐齐哈尔市第一医院、齐齐哈尔市梅里斯达斡尔族区哈力中学校等,中标价格从121万元至3295.96万元不等。在这17个中标项目中,中标价格最高的就是齐齐哈尔市第三十四中校园新建附属综合楼项目(二次)。


近3年来,嘉美公司中标的部分工程。来源:全国公共资源交易平台
7月24日,澎湃新闻记者拨打定标结果公示所留的招标人电话,被挂断。
全国公共资源交易平台信息显示,今年5月31日,黑龙江住建厅向嘉美公司下发“D223214107”资质证书,包括建筑装修装饰工程专业承包贰级、特种工程结构补强专业承包不分等级、建筑工程施工总承包贰级、消防设施工程专业承包贰级、建筑幕墙工程专业承包贰级等,该证书有效期至今年12月31日。
齐齐哈尔体育馆坍塌前画面曝光:有工人不断将水泥袋运至屋顶
有知情人士向华龙网记者爆料,体育馆已建成26年,事发前有大量袋装材料堆放在楼顶。

工人在体育馆楼顶堆放袋装材料。受访者供图
知情人士告诉记者,体育馆旁曾经是一块空地,学校在此种植了向日葵和玉米等。去年年底,这块空地开始动工修建学校附属综合楼,但接连有师生注意到,有工人将施工用的袋装材料堆放在体育馆楼顶,令人担忧。

废墟上方出现成堆袋装材料。来源:华龙网
“体育馆建成二十多年了,很多地方年久失修,大家都担心楼顶堆放那么多东西会不会出事。”该知情人士称。
知情人提供的视频画面显示,三名工人将成袋的袋装材料铺满了半个楼顶。体育馆旁,综合楼工地上的塔吊正在施工。知情人称,视频拍摄于去年冬天,但直到事发前这堆袋装材料一直没有被搬走。

救援人员正在接力搬开袋装材料。来源:华龙网
救援现场画面印证了上述说法。现场航拍视频可以清楚看到,夜间救援时,几十名救援人员正在接力逐袋搬开压在废墟上袋装材料。
公开信息显示,坍塌体育馆建成于1997年,投资230万元,建筑面积约1200平方米,墙体为网架结构,顶棚为混凝土板。馆内拥有300多个座位的观众席,1间健身房,1间淋浴室,1间洗手间,2间办公室,篮球场、排球场、羽毛球场、乒乓球场地。
黑龙江省公共资源交易中心信息显示,齐齐哈尔市第三十四中学校校园新建附属综合楼项目计划施工工期2022 年 12 月 5 日-2023 年 12月 31 日;建设附属综合楼 1 栋,建筑面积 6800平方米,地上 5 层;配套建设设备房 1 座、塑胶跑道、道路及路面硬化、绿化等场区配套工程。
综合楼前的施工公告显示,该项目设计单位为中冶天工集团有限公司,建设单位为黑龙江嘉美建设有限公司。记者向上述单位致电,均无人接听。

