据媒体报道,宗馥莉被三名自称“同父异母的弟妹”起诉引发关注,三名原告首次公开主张其为宗庆后非婚生子女(其中二人母亲为娃哈哈前高管杜建英),要求平等继承权。据报道,今年年初以来,娃哈哈已关停18家分厂的生产线,被关停的企业涉及深圳娃哈哈荣泰实业有限公司、沈阳娃哈哈荣泰食品有限公司等。
天眼查App显示,宗馥莉、宗婕莉、宗继昌、杜建英共同关联1家沈阳娃哈哈荣泰食品有限公司,该公司成立于2007年2月,法定代表人为宗馥莉,注册资本1500万美元,经营范围为食品生产、乳制品生产、食品用塑料包装容器工具制品生产等,由荣泰企业有限公司(英属维尔京群岛)、浙江启力投资有限公司共同持股。主要人员信息显示,宗馥莉任该公司董事长、经理,杜建英、宗婕莉、宗继昌均为董事。




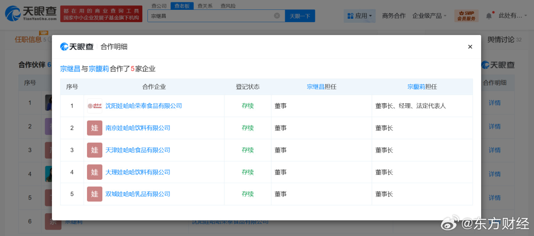
商业履历信息显示,杜建英名下关联50余家企业,包括深圳娃哈哈荣泰实业有限公司、南京娃哈哈饮料有限公司等。此外,杜建英与宗馥莉二人共同关联12家公司,与宗馥莉和宗继昌三人共同关联7家公司,包括陕西娃哈哈乳品有限公司、吉安娃哈哈乳品有限公司、南京娃哈哈饮料有限公司等,宗馥莉在三人关联公司中均担任董事长,杜建英、宗继昌均担任董事。
来源:东方财经
【责任编辑:华人报编辑】

